What to know
The National Institute for Occupational Safety and Health (NIOSH) developed the Ventilated Headboard, a novel and effective solution that isolates patients while protecting healthcare personnel from airborne infectious diseases.
Overview
Oftentimes, local and national protective guidance issued during a pandemic might call upon the use of airborne infection isolation rooms (AIIRs) for patients and/or specific patient procedures. Within U.S. hospitals, AIIRs are patient rooms with specific engineered features, intended to isolate and more-quickly remove potentially infectious patient aerosols. During a pandemic, the demand for AIIRs may exceed their availability. When this occurs, healthcare facilities may choose to use portable fan systems with high-efficiency particulate air (HEPA) filtration to establish surge AIIR capacity. Although there has been substantial research indicating potential shortcomings when HEPA fan/filter units are deployed incorrectly, there has historically been minimal guidance on how to deploy these units in a highly-protective fashion.
NIOSH developed the Ventilated Headboard, a novel and effective solution that isolates patients while protecting healthcare personnel from airborne infectious diseases. The latest version of the technology consists of lightweight, sturdy, and adjustable aluminum framing with a retractable plastic canopy. The ventilated headboard can be deployed in combination with HEPA fan/filter units to provide surge isolation capacity within a variety of environments, from traditional patient rooms to triage stations, emergency medical shelters, or even as emergency/temporary support options for displaced population shelters. For the unexpected large-scale outbreak scenario where a large number of ventilated headboards might be desired in an emergency medical shelter, there is even a do-it-yourself version that can be constructed using materials from your local hardware store.
The ventilated headboard is not a filtration system in itself, rather, it is a special inlet system designed to provide a strategically-improved air intake for a corresponding high-efficiency particulate air (HEPA) fan/filter unit. Together, the ventilated headboard and HEPA system can provide surge isolation capacity in either traditional healthcare facilities or alternate care sites. The ventilated headboard's improved inlet adopts a local control technique that provides near-instant capture of patient-generated aerosol. The retractable canopy allows for hands-on healthcare procedures while still offering protection to attending healthcare personnel. In addition to the direct-capture capabilities of the ventilated headboard, the HEPA fan/filtration system provides continuous air cleaning to the surrounding room air.
Advantages
- Proven—successfully captured/removed over 99% of airborne infectious-sized aerosol during laboratory testing with the NIOSH droplet nuclei test protocol
- Cost-effective—cost per isolated patient environment considerably less than traditional airborne infection isolation rooms
- Personnel protection—healthcare personnel operates outside the "hot zone" of infectious aerosol
- Easy patient access—open front allows interaction between the patient and room occupants/ equipment
- Expandable—for one or multiple units
- Highly adaptable—adjusts to fit most sizes of hospital bed, shelter cot or gurney
- Fast set-up—quick and easy installation
- Easy breakdown for storage—can be stored away and set up quickly
How it works
- Uses a local control technique for near-instant capture and containment before contaminants have a chance to disperse
- Protects the air and surrounding surfaces from contamination
- Canopy allows low-velocity air currents to capture/remove contaminants without irritating the patient
- Canopy easily retracts to allow hands-on healthcare procedures to the patient's head and neck
- Canopy material (plastic sheeting) is held into place by removable retainer clips and can easily be replaced between patients
Various uses
- Hospitals
- Healthcare environments
- Field Hospitals/Emergency medical shelter environments
- Large scale response exercises (mass casualty events)
- Triage stations
- Immigration and quarantine stations
- Health departments
- Nursing homes
- Low-resource environments
- Virtually any alternate-care location
Availability
NIOSH researchers have constructed and tested the Ventilated Headboard in two general configurations: (1) a wooden, do-it-yourself model constructed from supplies found at your local hardware store and (2) a lightweight aluminum model constructed using commercially available extruded aluminum framing and related fittings. At this time, the extruded aluminum version of the ventilated headboard is commercially available. The NIOSH-developed extruded aluminum version of the ventilated headboard is designed around a common product line which has multiple vendors throughout the country. In addition, there are competing framing product suppliers who may also be able to adapt the design to accommodate their specific framing material. Adaptations that vary any internal or external dimensional measurements should be evaluated with caution and at minimum, qualitatively tested to confirm containment performance and patient acceptability. A material parts list and detailed assembly instructions are available. Note that the instructions are very detailed, including multiple graphics and photos. NIOSH Beta-tested these instructions with several student interns and believes them to be sufficiently easy to follow.
The extruded aluminum model is likely the preferred variation for most healthcare environments. For circumstances where large numbers of patients requiring isolation may require triage and/or treatment in non-traditional healthcare environments, detailed instructions for the wooden, do-it- yourself configuration of the Ventilated Headboard are shown below. These instructions delineate the hood/canopy dimensions and flowrate requirements that have been experimentally proven to provide effective protection. Alternative framing supplies may also be used. However, it is important that the resulting hood designs do not deviate from the dimensional and functional aspects of that shown in the do-it-yourself instructions detailed below. NIOSH engineers are available if consultation is required during this process. You can contact NIOSH by telephone at 800-CDC-INFO (800-232-4636) or Contact CDC-INFO.
Do-it-yourself instructions
The following instructions apply to a ventilated headboard system designed and built for use with the Westcot™ 400 Medical Cot or the SurgeCot™, both of which were fitted with a 2-inch mattress. These brand/model cots are constructed to meet Veterans Administration design specifications and are consistent with the inventory in the strategic national stockpile. With mattresses in place, the Westcot 400 measures 20″ H x 32″ W x 81″ L while the SurgeCot measures 18″ H x 32″ W x 81″ L. The bottom of the ventilated headboard was designed to be approximately 4-6 inches above the mattress height. The headboard height extends upward another 24 inches to allow use of the Westcot’s mattress inclination features. Facilities that use alternate brand/models of medical cot, or who wish to adapt the ventilated headboard for use with a traditional hospital bed, may need to adjust the ventilated headboard leg height dimensions. The headboard’s 24-inch by 48-inch dimensions are a carry-over from hospital-based research which showed this size to be very effective at controlling respirable-size aerosol when matched with a 3-foot canopy (canopy extension = 75% of largest hood dimension) and exhausted at a minimum rate of 30-35 feet per minute (fpm) across the entire face of the ventilated headboard (Volumetric Air Flow = Velocity x Area = min 240-270 cfm). Admittedly, the narrower width of the Medical Cot could allow for a narrowing of the hood dimension however, the existing 48-inch width was kept in the current design, based upon its prior success and to allow additional width within the canopy area for IV bags and other medical equipment. Facilities seeking to alter the hood dimensions are encouraged to apply the “75% of largest dimension” canopy extension length and “minimum 30-35 fpm face velocity” design criteria. Qualitative performance evaluations of altered designs can be conducted using tracer smoke. Quantitative evaluations, if desired, can be done using tracer aerosol methods described in the first three references below.
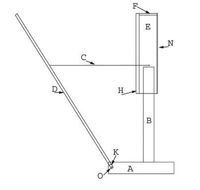
Major parts list
- A. 2×4 wooden foot (1.5" x 3.5" x 20"), Qty = 2
- B. 1×4 wooden stilt (3/4" x 3.5" x 32"), Qty = 2
- C. 30" light weight jack chain (No. 16, single-loop), Qty = 2
- D. Canopy frame side support, ¾" x 51.5" Sch 40 PVC pipe, Qty = 2
- E. 1×6 headboard frame side (3/4" x 5.5" x 22.5"), Qty = 2
- F. 1×6 headboard frame top (3/4" x 5.5" x 48")
- G. 1×6 headboard frame bottom part (3/4" x 5.5" x 18"), Qty = 2
- H. Filter retainer, 5/8" PVC siding J-channel, Qty 2 each: 48" & 24"
- I. Prefilters, 24" x 24" x ¾" air filter (MERV 7 or 8), Qty = 2
- J. Canopy frame elbow, ¾" PVC 90-deg, Qty = 2
- K. Canopy frame foot/hinge, ¾" PVC Tee, Qty = 2
- L. Canopy top rail, ¾" x 50" Sch 40 PVC pipe
- M. 12" x 6" Vertical HVAC duct boot
- N. Headboard backing, 24" x 48" x 1/8" tempered hardboard
- O. Canopy frame hinge shaft, ¼"x3.5" hex head bolt w/2 washers & #20 nut, Qty = 2
- P. Duct tape, Clear weather-sealing tape, Caulk, Construction Adhesive (not shown)
- Q. Screws (Wood: 5/8", 1-1/4", 2" ; Self Drilling: #8-18 x 1/2" )
- R. Canopy, 55" wide x 13'-8" 4-mil clear plastic sheeting (not shown)
- S. Canopy ballast (not shown), (42" light weight dog/utility chain), Qty = 2
- T. Rear baffle, 30" x 60", 4-mil clear plastic sheeting (not shown)


Assembly Instructions
1. Build 48" x 24" frame: Lay 1×6 frame parts (E, F, G) on their edge on a flat surface. Butt Sides (E) to each bottom end of Top (F) creating right angles, pre-drill holes and attach using 1-1/4" drywall screws and construction adhesive. Butt the bottom end of one side (E) to the top edge of a frame bottom part (G) creating a right angle then pre-drill holes and attach using 1-1/4" drywall screws and construction adhesive. Repeat for the other side (E) and Bottom Part (G) in order to create an incomplete rectangular 24" x 48" box, like that in Figure 2.

2. Mount the 24" x 48" headboard backing (N) to one side of the 1×6 frame using construction adhesive and 5/8" drywall screws.
3. Lay frame on its back side and install 12" x 6" Vertical HVAC Duct Boot (M) within the frame gap that's located between the two bottom parts (G) using #8-18 x ½" self-drilling screws & construction adhesive. (See Figure 3) Fill any gaps with caulk and/or mastic. [NOTE: This can be a difficult fit and will require slight modification to get the 6"-wide boot to fit within the 5-1/2" width of the headboard frame. Depending upon the boot manufacturer, the width reduction may be accomplished through crimping, cutting an overlap joint, or removing existing rivets and increasing the overlap in the existing overlap joint. A second person to squeeze the boot to appropriate width while screws were being placed could facilitate this step.]

4. Install Filter Retainer: Attach one 48" long piece of 5/8" j-channel (H) (open edge oriented inward towards center of hood) to the top front edge of frame using 5/8" screws and construction adhesive Repeat process for second 48" j-channel along the bottom edge of the hood and for one 24" long piece to the front side edge. Corners will need to be notched in order to get a tight fit. (See Figure 4) All screws must be set flush else, they will snag on the filter frames during installation/change-out. Dry-fit the remaining 24" piece of j-channel along the remaining side. The dry-fit piece is the filter retainer end-cap and is not permanently attached to the frame in order to facilitate filter installation.

5. Before installing filters, use caulk to fill any gaps between headboard back & frame or between filter retainer & frame.
6. Attach Legs (Stilts): Mark a line, perpendicular to the edge and 24 inches from one end of each 1"x4" wooden stilt (B). This line marks the height of the headboard. Center each stilt along the outside of the wooden headboard frame such that the previously drawn line is flush with the bottom of the frame, resulting in an 8–inch overlap. Clamp or hold tightly in this position while fastening a stilt onto each side of the frame using 1-1/4" screws, making sure that the stilts are parallel with the sides of the hood frame.
7. Install Filters: With the filter retainer end-cap removed, carefully slide the filters into the filter retainer (previously installed j-channel). Once filters are installed, reposition the end-cap. Use duct tape to seal the vertical seam between the two filters and to seal any gaps associated with the filter retainer end-cap. [NOTE: You may prefer to use white duct tape for aesthetic purposes.]
8. Mark a line perpendicular to the edge and 6 inches from one end of each 2"x4" wooden foot (A). On the other end of each foot, draw a line 1-1/2" from the end and mark the center of this line. Drill a 5/16" diameter hole at this center mark for later use by the canopy frame hinge shaft (O).
9. Attach Feet: Carefully stand the headboard upright so that it is standing on the two stilts. Position each foot on the outside edge of the stilt, so that the 6-inch measurement line from the previous step is aligned with the back vertical edge of the stilt. Attach each foot in this position using construction adhesive and 2" wood screws.
10. Take each Canopy frame foot/hinge [¾" PVC Tee (K)]. Orient the tee with the two branches that create the straight run in the horizontal position and the perpendicular tee branch in an upright orientation. Drill a 5/16" hole horizontally, through the center of one branch (see Figure 5) of the straight run. Starting from the outside and working inward, thread a hex head bolt through a ¼" washer, the Canopy foot/hinge, the 2"x4" wooden foot, a second ¼" washer and ¼" x 20 nut. Repeat this sequence for the other side.

11. Install Canopy Frame: Pick one end of a canopy frame side support (D) to be the bottom and measure up 33" from this end. Draw a line around the circumference of the support at this distance and repeat for the other canopy frame side support. Install each canopy frame side support by inserting the designated bottom end into its respective foot/hinge.& Cap each side support with a 90-deg elbow (J), pointed toward one another and insert one end of the canopy top rail (L) into each elbow.
12. Install Light-Weight Chain: Use a #8-18 x ½" self-drilling screw to attach one end of a 30" light-weight chain (C) to the outside edge of the canopy frame side support at the 33" line identified in the previous step. Use a 5/8" wood screw to attach the other end of the chain to the side of the headboard frame, positioning this screw to allow the canopy to lean forward until top of the canopy top rail is at the same height as the top of the headboard. Repeat the chain installation on the other side. [Note: This should result in a canopy depth that is approximately equal to 75% of the headboard's largest dimension (36" in the case of the 2' x 4' headboard).]
13. Install Lower Rear Baffle: Staple the rear baffle into place along the bottom edge of the headboard frame, down the front of each stilt and to the inner sides of the two feet. Intent is to disallow airflow from behind or beside the headboard and stilts from entering into the canopy area. Hint: Run a length of twine beneath the line of staples to add strength and help prevent pulling of the staple through the plastic. (See Figure 6)
14. Install Canopy: (a) While facing the front of the headboard with the canopy frame in the forward-leaning position, position the canopy with its leading edge approximately 3" in front of the canopy, centered (Left-Right), and extending rearward back over the rear of the headboard frame. (b) Pull, leading edge of canopy down and over front edge of canopy top rail and affix to the underside of canopy using clear weather-sealing tape. (c) Standing behind the headboard, gently pull the canopy top toward the rear until taunt but without retracting the canopy frame, use clear tape to tack this into place along the top rear of the headboard and repeat for each of the sides. (d) Once canopy is positioned, use additional tape and staples to securely fashion rear of canopy against the rear of the headboard. (See Figure 6)

15. Install Ballast: The canopy will have excess material touching the floor on each side. Trim this excess to approximately 6" extra material on each side. Fold lengthwise (horizontally) half of the excess material upward and crease. Fold the now-double-thick excess upward again and adjust the overlap until the bottom crease rests firmly against the floor without folding. Seal the top of this later fold using staples and clear weather-sealing tape. Insert one of the 42" lengths of light weight chain within the length of the pocket resulting from the last fold. This chain will now act as a retractable ballast to hold the canopy in place when it is in the forward position (see Figure 7).

16. Airflow Requirements: Laboratory measurements reveal that a ventilated headboard constructed to these specifications required approximately -0.2" w.g. of hood static pressure in order to pull 250-300 cfm of exhaust air. If a multiple hood system is being considered (See Figure 8), hood static pressure design values of -0.25" w.g. and an exhaust rate 275 cfm per hood are reasonable using this design approach. While 240 cfm should be the minimum-target exhaust rate, for reasons of patient comfort, 320 cfm is probably the upper exhaust limit recommended for the 2'x4' ventilated headboard design. This results in an average exhaust velocity of 40 fpm which is within the upper acceptable range for traditional room occupant comfort. Also note that when using a portable HEPA filtration system to generate the exhaust flow, the filters on the headboard can act as the HEPA unit prefilters. Thus, the HEPA unit's regular prefilters may be removed in order to avoid the redundant static pressure losses.

17. Exhaust Discharge Requirements: Current CDC and U.S. national healthcare design guidance for Airborne Infectious Isolation Rooms identify a general preference for total exhaust to the outdoors, strategically designed to prevent discharge or entrainment into occupied areas. However, these references further allow recirculation of exhaust air if it has undergone HEPA filtration and specifically, the use of portable HEPA filtration devices are mentioned as an alternative to achieve increased air cleaning. Local jurisdictions may have their own requirements.
Multi-cot variations
When the ventilated headboard is desired for use in an emergency medical shelter or similar environment, it may make sense to build a multi-cot (or bed) system served by a single, large HEPA/fan system as opposed to deploying multiple headboards, each driven by their own HEPA fan unit. The number of individual headboards that can be incorporated into a single system will be limited by the size of your available fan or HEPA fan/filter unit and associated duct work. If the air is to be exhausted outdoors and away from buildings and people, the fan system may not require HEPA filtration, however, removal of large amounts of air from a tempered indoor space could create environmental comfort and infiltration issues that may require additional interventions. Such a strategy may be more realistic in areas/seasons with more temperate weather conditions. Advantages of using HEPA-filtered fan systems include the ability to recirculate the clean air inside the facility, thus not requiring modifications to existing HVAC systems. In addition, the HEPA discharge can be used to positively pressurize "safe havens" of clean air for personnel to reside during breaks, for donning PPE, or for administrative tasks.
Example instructions for a 5-cot ventilated headboard system designed using quick-connect ducting and fittings can be found here: Expedient Airborne Infection Isolation 5 Bed Demonstration Kit Assembly Instructions [PDF – 805 KB]. In addition, the multi-cot ventilated headboard approach can be augmented with a second layer of containment using a tent or canopy. In this case, the air removed by the ventilated headboard places the tent under negative pressure, thus providing a second layer of containment for more serious cases or ambulatory patient cases that may be less likely to remain prone in their bed. Example instructions for expedient airborne isolation tents can be found here: Expedient Airborne Isolation Tent Assembly Instructions [PDF – 740 KB] and Expedient Airborne Isolation Tent Option 2 Constructed using a 10' X 10' "Pop-Up" Canopy [PDF – 2 MB].
Acknowledgments
The ventilated headboard design described in this document evolved from prototypes developed during a research partnership with the University of Oklahoma, Health Sciences Center, College of Public Health, Department of Occupational and Environmental Health. Special thanks are due to Dr. David L. Johnson, Dr. Margaret L. Philips, Dr. Nurtan A. Esmen, Dr. Ramkumar N. Parthasarathy, Dr. Daniel T. Boatright and Dr. Robert Lynch for their assistance in the development and evaluation of the research products.
- CDC/NIOSH (2008), In-depth report: expedient methods for surge airborne isolation within healthcare settings during response to a natural or manmade epidemic. Cincinnati, OH: U.S. Department of Health and Human Services, Public Health Service, Centers for Disease Control and Prevention, National Institute for Occupational Safety and Health, EPHB 301-05f, 2012 Apr; :1-184 https://www.cdc.gov/niosh/surveyreports/pdfs/301-05f.pdf (accessed 04/02/2020).
- Dungi SR, Ghia U, Mead KR and M Gressel. Effectiveness of a local ventilation/filtration intervention for health-care worker exposure reduction to airborne infection in a hospital room. Proceedings of the 2015 ASHRAE Winter Conference, January 24-28, 2015, Chicago, Illinois. Atlanta, GA: American Society of Heating, Refrigeration and Air-Conditioning Engineers, 2015 Jan; :CH-15-C017
- Mead K, Johnson DL. An evaluation of portable HEPA filtration for expedient patient isolation in epidemic and emergency response. Ann Emerg Med 2004;44:635-45.
- Johnson DL, Lynch RA. An efficient method for particle counting in evaluating airborne infectious isolation containment using fluorescent microspheres. J Occup Environ Hygiene 2008;5:271-7.
- Johnson, David L., Robert A. Lynch, and Kenneth R. Mead (2009). Containment Effectiveness of Expedient Patient Isolation Units. American Journal of Infection Control 37(2):94-100.
- ASHRAE [2017]. Ventilation of health care facilities, ANSI/ASHRAE/ASHE Standard 170-2017. Atlanta, GA: ASHRAE.
- Siegel JD, Rhinehart E, Jackson M, Chiarello L, and the Healthcare Infection Control Practices Advisory Committee, 2007 Guideline for Isolation Precautions: Preventing Transmission of Infectious Agents in Healthcare Settings (accessed 04/02/2020).